Что такое тормозная система?
Говорить всевозможными терминами большого смысла нет, терминологию оставим профессионалам. Так что разберем этот аспект устройства авто более детально, с употреблением понятных слов.
Система, позволяющая остановиться у любого автомобиля, будь то Газель, легковая иномарка или тяжелая фура, отвечает за процесс остановки. При этом останавливаться мы должны самостоятельно, контролируя этот процесс. Другими словами, данный механизм отвечает за снижение скорости машины, ее полную остановку и сохранение стоячего положения.
При этом, сила торможения может создаваться несколькими путями:
- Непосредственно механизмом;
- Двигателем;
- Трансмиссией (ее гидравлическим или электрическим тормозом-усилителем).
Оплата через PayPal
После выбора оплаты через PayPal запустится платежная система PayPal, где требуется выбрать способ оплаты банковская карта или аккаунт PayPal.
Если у Вас уже есть аккаунт PayPal, то Вам необходимо зайти в него и осуществить платеж.
Если у Вас нет аккаунта в PayPal, и Вы хотите оплатить с помощью банковской карты через PayPal, Вам необходимо нажать на кнопку «Create an Account (Создать аккаунт)» — на рисунке показано стрелочкой.
После чего PayPal предложит вам выбрать Вашу страну и указать данные кредитной карты.
После указания данных, необходимых для осуществления платежа, надо нажать на кнопку «Pay Now (Оплатить)».
Тормоза на ГАЗ 66 – avtorep.ru
В один прекрасный день под грузовиком на переднем колесе стали появляться потеки тормозной жидкости.

Были куплены:
- DOT-4
- Манжета уплотнительная поршня ( 51-3501051) поз. 15 на рис.

Думали что ремонт обойдется банальной заменой уплотнительной манжеты поршня. И начали со снятия колеса. По случаю купили ключ балонный роторный для грузовых автомобилей и решили его испытать.

Данная штуковина оказалась очень удобная, все гайки были откручены «от руки» и не пришлось прыгать на монтажке. К слову заметем, что ключ балонный роторный произведен в Китае, на сколько его хватит — проверим.
Под колеса поставили противооткаты и китайским домкратом подняли правое переднее колесо. Пока домкрат выполняет свои функции и не подтекает. Но чурку под мост мы всё же подставили, так как жизнь дороже китайского домкрата.

Сняли колесо и принялись за тормозной барабан.

Пришлось помогать молотком и кувалдой, так как барабан не хотел сниматься без «грубой» силы.


После обстукивания, тормозной барабан снялся и взору открылись внутренности тормозного барабана.

На землю упала лопнувшая пружина. И стало понятно, что всё только начинается.

Колодки оказались на грани полного износа. Внутри барабана всё было в грязи. Почистили и приступили к снятию колодок. Решили их заменить, а также поменять барабан, так как на этом были видны следы износы не вооруженным глазом.




Приволокли барабан и колодки с цилиндрами от донора.

Сначала хотели перекинуть просто колодки, но в процессе снятия болты, поз. 1 на рис. выше, отказались выходить из-за ржавчины, а выбивать их молотком оказалось нецелесообразно, так как они деформировались очень сильно. Поэтому сняли колодки прям с тормозными цилиндрами.



Но и дальше пошло не всё гладко. Запчасти от донора успели испытать на себе природную силу ржавчины. И у одного барабана при откручивании обломился золотник поз. 18 на рис. выше. Поэтому было решено один цилиндр взять от донора, а второй оставить родной. Но оба цилиндра разобрали, почистили, продули. Заменили манжеты уплотнительные поршня на новые. Хотя старые манжеты были целые, видимо тормозную жидкости выдавливало из-за того, что колодки были изношены, и цилиндр постоянно был в крайнем положении.
Поставили колодки от донора. От него же взяли вторую пружину, которая лопнула. Свели колодки, установили тормозной барабан от донора. Развели колодки. Kолодки разводятся после сборки колеса эксцентриками. Прокрутили колесо, и отверткой с внутренней стороны ступицы развели левую и правую колодки отдельно.
Открутили золотники, поз. 18 на рис. выше, и одели на них трубочки ,опустили трубки в бутылку. Залили тормозную жидкость DOT-4 в главный тормозной цилиндр и стали ждать пока из трубок потечет жидкость, чтобы не прокачивать тормоза. Долго она не текла, чтобы ускорить процесс, нажали несколько раз на педаль тормоза. И буквально через 30-50 сек. из трубок побежала жидкость. Сначала из нижнего цилиндра, подождали пока выбежит 30-50 миллилитров, чтобы пузырьки воздуха удалились — закрутили золотник. Потом подождали когда из верхнего цилиндра выбежит 30-50 миллилитров и тоже закрутили золотник.
Долили тормозную жидкость до уровня. Завели ГАЗ 66 и после 2-го качка педалью тормоза — появились тормоза. Проверили на ходу торможение, всё крутится когда надо и тормозит когда надо. После проведенного ремонта — колесо остается сухое.
Как часто прокачивать?
Определенного регламента здесь нет. Прокачивать систему нужно только после появления характерных признаков. Также воздух удаляют при ремонте каких-либо частей тормозной системы. Однако в случае замены колодок прокачивать систему не обязательно. Достаточно проверить уровень жидкости и долить ее, так как при сдавливании рабочего поршня она может политься через верх.
Отметим, что сама жидкость имеет определенный ресурс. Менять ее нужно каждые два года либо раз в 80 тысяч километров. А контролировать текущее состояние жидкости можно благодаря специальным тестерам, как на фото ниже.
Неисправности системы
Как обычно, подходя к вопросу о различных поломках и неисправностях, их насчитывается огромное количество.

Газель схема тормозной системы
Однако, существует ряд проблем, с которыми водители сталкиваются гораздо чаще, по этой причине следует знать некоторые из них, например:
- Проваливание педали тормоза;
- Ослабление тормозов или их неравномерное срабатывание;
- Увеличение остановочного пути;
- Сложность при нажатии на педаль для замедления или остановки машины;
- Крен машины при торможении;
- Срабатывание тормозов без нажатия на соответствующую педаль;
- Движение машины в положении «стоя».
Этот список можно продолжать еще довольно долго, однако, тут приведены самые распространенные примеры проблем, которые испытывает тормозная система.
При любом проявлении хотя бы одной из них, следует незамедлительно обратиться к специалистам за диагностикой, иначе вы подставляете опасности не только свою Газель, но и всех ее пассажиров, в том числе и себя.
Тормозная система автомобиля ГАЗ-66 и нюансы ее эксплуатации
Тормозная система автомобиля – это одна из двух важнейших система автомобиля от работоспособности которых напрямую зависит жизнь водителя, пассажиров и всех, кто движется по дороге вокруг него. Вторая система – рулевое управление, но сегодня нас интересует не она. ГАЗ 66 является примером первого высоко проходимого полноприводного грузовика. Он предназначался для армии, поэтому в советское время его иметь могли только лишь различные структуры, куда он выделялся. О его армейском прошлом прямо говорит компоновка кабины, где отсутствует капот, а двигатель расположен в кабине.

Это сделано для того, чтобы при погрузке ГАЗ 66 в транспортный самолет он там занимал мало места и поставить их можно было плотно между собой. Кстати, важную роль в таких полетах играла и тормозная система машины, так как именно она заставляет автомобиль стоять на месте неподвижно, а не кататься по салону самолета.
Общее устройство
Тормозная система автомобиля ГАЗ 66 имеет следующие назначение: снижение скорости автомобиля или его полная остановка путем создания сил, что будут противодействовать силе вращения колеса машины. Это единственный способ, который может быть использован для остановки машины.
Итак, тормозная система этого автомобиля, в общем, подразделяется на несколько более меньших систем:
- Рабочая.
- Экстренная.
- Стояночная.
Когда мы говорим о рабочей, то имеем в виду тот самый механизм, который водитель использует каждый раз, когда нажимает правой ногой на педаль тормоза. Она включает в себя массу различных элементов, но приводиться в действие нажатием на эту самую педаль. Экстренная и стояночная системы же отличаются менее простым устройством и полностью ручным и механическим способом контроля своей работы. Это одна и та же система, просто, когда рабочая ломается использовать нужно именно стояночную, поэтому, если смотреть на нее и с другой стороны, то она является и экстренной.
Распродажа новых внедорожников
Кредит 9.9%, рассрочка 0%, скидки, подарки!

В обычных условиях стояночная система включает в свои задачи удержание автомобиля в состоянии неподвижности при длительных стоянках на одном месте. Осуществляться это может при помощи штатных тормозных механизмов, либо с помощью специального. Именно таким и обладает стояночная тормозная система такого большого автомобиля, как ГАЗ 66.
Принцип работы и механизмы
Автомобиль ГАЗ 66 достаточно старый, и его система торможения далеко не то что до идеала, а даже до сегодняшних. Но это и делает ее интереснее. Здесь используются такие устройства, которые практически не применяются уже на современных машинах. Разберемся же в них. Итак, как и любые тормоза на любой машине здесь также есть исполнительные механизмы и те, что приводят их в действие.
В качестве механизма здесь выступают обыкновенные барабанные тормоза, причем на обеих осях, разница заключается лишь в из размере. Привод же полностью гидравлический с присутствием гидровакуумного усилителя.
Сперва поговорим о исполнительных механизмах. Задние тормоза ГАЗ 66, в отличие от передних не имеют защищающей экранизации, но зато там пристывают более массивные колодки со специальными длинными фрикционными накладками. Передние имеют меньший размер, что накладок, что самого тормозного барабана. Это связано с конструкционными особенностями ведущего управляемого моста, который установлен на ГАЗ 66. Передний механизм имеет два рабочих цилиндра, каждый нажимает на свою колодку по отдельности.
Привод же имеет гидравлический характер. В него входят:
- Нажимная педаль.
- Главный тормозной цилиндр.
- Гидровакуумный усилитель.
- Раздельные тормозные контуры.
- Соединительные патрубки и шланги.
Работа гидравлического привода основана на создании давления за счет несжимаемой жидкости в системе. Главный тормозной цилиндр, что располагается под капотом и является создателем этого давления, из него к каждому мосту автомобиля отходят контуры.
Каждая ось имеет свой контур, то есть они раздельные. Это сделано в целях безопасности, при выходе из строя одного, то второй остается работать и вполне может своими силами остановить автомобиля до того, как произойдет авария. Также здесь, на ГАЗ 66, устанавливается гидровакуумный усилитель, который увеличивает в несколько раз усилие, что создаёт водитель нажатием педали. Это необходимо для большого грузовика, так как иначе водителю пришлось бы давить на педаль двумя ногами и со всей силы, чтобы остановить его в нужный ему момент.
Возможные неисправности
В процессе эксплуатации Газели могут возникнуть поломки. Зная причину неисправности, водитель всегда сможет устранить проблему.
Слишком свободный ход педали тормоза
Рабочий ход педали тормоза может быть увеличен из-за утечки тормозной жидкости из цилиндров. В случае нарушения герметичности необходимо заменить неисправные цилиндры, промыть и высушить колодки, а также барабаны и диски. Если утечка жидкости произошла в соединениях трубопроводов, то нужно подтянуть эти соединения, либо заменить прокладки.
Свободный ход педали может возникнуть из-за присутствия в системе гидроприводы воздуха. Для того чтобы решить эту проблему стоит прокачать систему.
Занос автомобиля в сторону в процессе торможения
Занос Газели может происходить по нескольким причинам.
Основными причинами являются:
- Замасливание рабочих поверхностей фрикционных накладок. При возникновении проблемы стоит заменить колодки, либо вымыть накладки и отшлифовать их, чтобы удалить пыль.
- Разное давление воздуха в шинах. В этой ситуации следует довести давление до нормального состояния.
- Произошла утечка тормозной жидкости в тормозном механизме. Устранение течи решит проблему.
Иногда из-за неисправности регулятора давления задние колеса останавливаются раньше, чем передние. В этом случае производят замену регулятора.
Вибрация и свист тормозов
Вибрация тормозов может возникать из-за износа накладок или посторонних включений в них. В этом случае следует заменить колодки на новые.
Износ тормозного диска может также вызвать писк и вибрацию тормозов. Устранить неполадку можно, если прошлифовать диск или заменить его.
Нерастормаживание колес
Неполное растормаживание колес происходит из-за разбухания уплотнителей главного цилиндра. Решить проблему поможет прокачка системы гидропривода.
Как снять и поставить главный тормозной цилиндр автомобиля Газель
Главный тормозной цилиндр с двухсекционным бачком и датчиком аварийного падения уровня тормозной жидкости крепится к вакуумному усилителю
Поршни в цилиндре расположены последовательно, ближайший к вакуумному усилителю приводит в действие тормозные механизмы задних колес, другой поршень – передних.
Главный тормозной цилиндр снимаем для ремонта, а также для замены вакуумного усилителя.
Обычно возникают следующие дефекты главного тормозного цилиндра:
— загрязнение главного цилиндра или большой износ его зеркала;
— износ или повреждение манжеты поршня главного цилиндра;
— засорились компенсационные отверстия (происходит самопроизвольное торможение автомобиля)


Отсоединяем колодку проводов от датчика аварийного падения уровня тормозной жидкости.
Ключом «на 12» отворачиваем оба штуцера тормозных трубок и отводим их в сторону.


Ключом «на 17» отворачиваем гайку и снимаем хомут крепления шлангов и проводов.
Ключом «на 17» отворачиваем две гайки крепления главного цилиндра к вакуумному усилителю


Между цилиндром и усилителем установлено резиновое уплотнительное кольцо. Его следует переставить на новый цилиндр (в случае замены)


Отворачиваем крышку бачка и, перевернув цилиндр бачком вниз, сливаем из него жидкость.
Нажав несколько раз на поршень, полностью сливаем остатки жидкости.
Потянув, снимаем бачок с цилиндра
Устанавливаем главный тормозной цилиндр в обратной последовательности.
После заполнения бачка жидкостью проверяем действие тормозов и, при необходимости, прокачиваем тормозную систему (см. Как прокачать и заменить жидкость гидропривода сцепления газели).
Источник
Проблемы при оплате банковскими картами
Иногда при оплате банковскими картами Visa / MasterCard могут возникать трудности. Самые распространенные из них:
- На карте стоит ограничение на оплату покупок в интернет
- Пластиковая карта не предназначена для совершения платежей в интернет.
- Пластиковая карта не активирована для совершения платежей в интернет.
- Недостаточно средств на пластиковой карте.
Для того что бы решить эти проблемы необходимо позвонить или написать в техническую поддержку банка в котором Вы обслуживаетесь. Специалисты банка помогут их решить и совершить оплату.
Вот, в принципе, и все. Весь процесс оплаты книги в формате PDF по ремонту автомобиля на нашем сайте занимает 1-2 минуты.
Если у Вас остались какие-либо вопросы, вы можете их задать, воспользовавшись формой обратной связи, или написать нам письмо на info@krutilvertel.com.
Главный тормозной цилиндр ГАЗ 2705
|
|
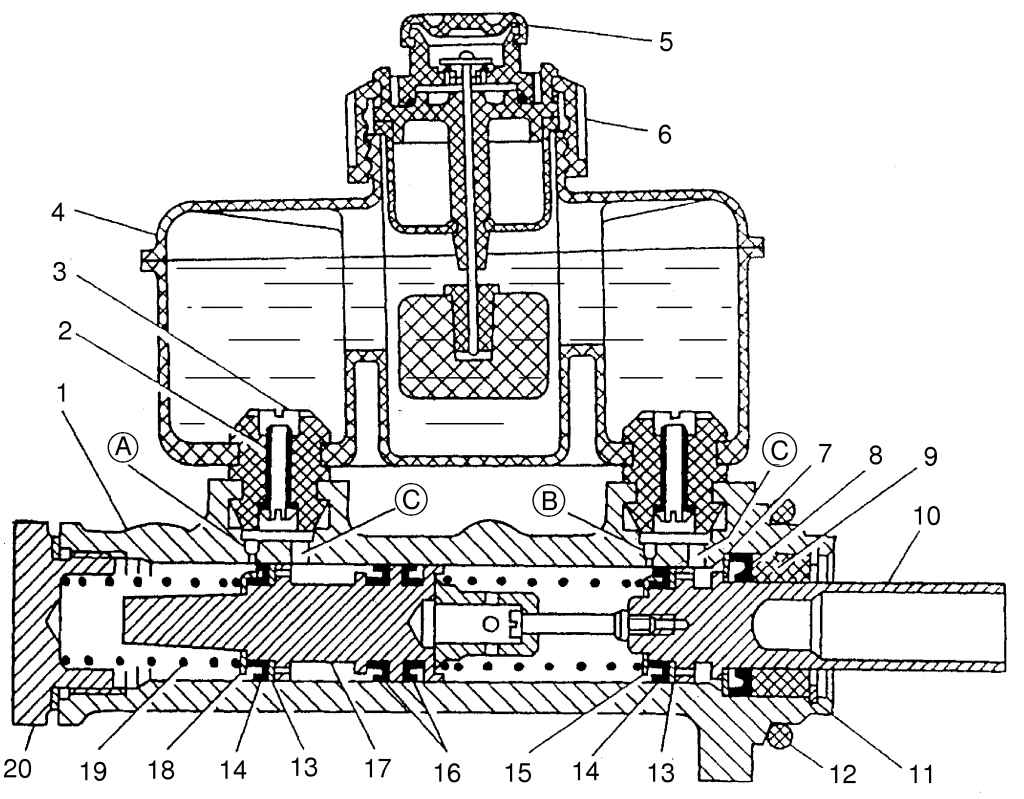
Рис. 8.3. Главный тормозной цилиндр: 1 — корпус; 2 — трубка; 3 — соединительная втулка; 4 — бачок; 5 — защитный колпачок; 6 — датчик сигнализатора аварийного падения уровня тормозной жидкости; 7 — упорное кольцо; 8 — наружная манжета; 9 — направляющая втулка; 10, 17 — поршни; 11 — стопорное кольцо; 12 — уплотнительное кольцо; 13 — шайба поршня; 14, 16 — манжеты; 15, 18- упорные шайбы; 19 — пружина: 20 — пробка; А, В — компенсационные отверстия; С — перепускные отверстия |
Главный тормозной цилиндр с двумя последовательно расположенными поршнями 10 и 17 (рис. 8.3) и двухсекционным бачком 4 с датчиком 6 сигнализатора аварийного падения уровня тормозной жидкости крепится к крышке вакуумного усилителя.
Главный тормозной цилиндр создает давление в двух независимых гидравлических контурах. Объем тормозной жидкости между поршнями 10 и 17 используется, чтобы привести в действие задние тормозные механизмы, а объем жидкости между поршнем 17 и торцом пробки 20 — передние тормозные механизмы.
При торможении, перемещаясь вперед, первичный поршень 10 и его манжета 15 перекрывают компенсационное отверстие В, соединяющее первичную полость главного цилиндра с бачком. Пружина, установленная между поршнями 10 и 17, сильнее пружины 19, расположенной между поршнем 17 и пробкой 20, поэтому одновременно с первичным поршнем 10 начинает перемещаться и вторичный поршень 17, перекрывая манжетой компенсационное отверстие А, соединяющее вторичную полость цилиндра с бачком. Дальнейшее перемещение поршней сопровождается увеличением давления в полостях, и, следовательно, срабатывают оба тормозных контура.
При снятии усилия с педали тормоза поршни под действием пружин возвращаются в первоначальное положение. При этом открываются компенсационные отверстия А и В и жидкость в обеих полостях главного цилиндра сообщается с жидкостью, находящейся в бачке, давление при этом в контурах снижается до атмосферного.
Если педаль тормоза освобождается резко, то поршни главного цилиндра быстро возвращаются в исходное положение и при этом готовы к последующему торможению. Быстрый возврат поршней обеспечивается тем, что при их возвращении в исходное положение в полостях главного цилиндра создается разрежение, под действием которого жидкость из бачка через перепускные отверстия С и отверстия в поршнях, отжимая шайбы 13 и края манжет 14, поступает в полости главного цилиндра. Когда поршни достигнут своего исходного положения, избыток жидкости из каждой полости через компенсационные отверстия А и В перетечет в бачок.
При выходе из строя одного из контуров привода, происходит утечка жидкости из полости главного цилиндра, соединенной с неисправным контуром. Если неисправен задний контур, то поршень 10 доходит до держателя 16 пружины и через него воздействует на вторичный поршень 17, который создает давление во вторичной полости главного цилиндра и переднем контуре.
При отказе контура передних тормозных механизмов поршень 17 воздействует на торец пробки 20, а поршень 10, сжимая пружину, вытесняет жидкость из первичной полости главного цилиндра в контур, идущий к тормозным механизмам задних колес.
При отказе одного из контуров привода происходит увеличение хода педали тормоза, но обеспечивается достаточно эффективное торможение автомобиля.
При исправных контурах уровень тормозной жидкости в бачке главного цилиндра должен находиться между отметками МАХ и MIN. Постепенное изменение уровня жидкости от МАХ к MIN связано с износом накладок тормозных механизмов. Резкое падение уровня тормозной жидкости в бачке свидетельствует о нарушении герметичности тормозной системы. При этом срабатывает сигнализатор аварийного падения уровня тормозной жидкости и на комбинации приборов загорается лампа красного цвета. Доливать жидкость в этом случае следует только после восстановления герметичности системы.
Для проверки исправности датчика 6 аварийного падения уровня жидкости в бачке необходимо при включенном зажигании нажать сверху на центральную часть защитного колпачка 5. При этом должна загораться лампа на комбинации приборов.
Видео про «Главный тормозной цилиндр» для ГАЗ 2705
Ремонт главного тормозного цилиндра ГАЗель
ГАЗЕЛЬ замена вакумного усилителя тормозов
Газель. Тормозная система и Куда уходит тормозная жидкость!
Описание
Цилиндр главный гидротормозов (ГТЦ) ГАЗ 2217 Соболь, 3302 ГАЗель, 3110 Волга (С АБС) «ГАЗ» ОРИГИНАЛ / 3110-3505010 (ПАО «ГАЗ»)
- артикул 3110-3505010 (ПАО «ГАЗ»);
- есть в наличии и доступен для покупки;
- цена по состоянию на 28.10.21 — 4 228 рублей;
- доставка осуществляется по всей России.
Оформите заказ на данный товар онлайн прямо сейчас!
Нужно быть авторизованным на сайте, чтобы оставить вопрос по товару.
Телефон: 8-800-700-9-554 (звонок по России бесплатный)
1997-2021, «BAZA ВСЁ ДЛЯ УАЗА» продаёт запчасти в России для всех видов УАЗ: Буханка, Патриот, Карго, Пикап, Профи, Хантер, 469, Симбир. Выполняем доставку автозапчастей транспортными компаниями.
Заказать запчасти по VIN номеру
Чтобы подобрать запчасти по VIN-номеру, нужно авторизоваться на сайте.
Источник
Ремонт задних(барабанных) тормозов на автомобиле ГАЗель
Перед началом проведения работ по ремонту задних тормозных механизмов необходимо очистить их от грязи, а так же продуктов износа и продуть сжатым воздухом.
Разбирать задние тормоза необходимо в следующей последовательности:
– снять тормозные колодки (см. подраздел «Замена колок тормозных механизмов задних колес»);
– от цилиндра отсоединить трубопровод, снять цилиндр и разобрать его. Для того что бы разобрать цилиндр необходимо снять резиновые защитные колпаки. После этого на 90° повернуть поршни и вытащить их из цилиндра. Пружинные кольца удалять не нужно. Если возникла такая необходимость то кольцо можно удалить, с помощью специальных круглогубцев (см.рис. ниже). Для этого нужно в отверстия кольца (диаметр губок 4 мм, высота 5 мм) вставить круглогубцы и сжать их и вынуть сначала одно кольцо, а затем второе из цилиндра. Выкрутить и вынуть клапан прокачки цилиндра.
Разобранные детали теплой водой и просушить их с помощью сжатого воздуха, а затем провести осмотр деталей на повреждения.
С внутренней стороны на рабочей поверхности барабана недопускаются глубокие риски и задиры. При наличии глубоких рисок или задиров тормозной барабан необходимо заменить на новый или расточить, но не более чем на 281,5+0,21 мм, что бы не снизить его прочность.
При очень глубоких рисках или при большом износе рабочей поверхности барабана до диаметра 283 мм барабан необходимо заменить на новый в сборе со ступицей. Разрешается замена только барабана при этом необходимо обязательно произвести обработку в сборе со ступицей его рабочей поверхности до размера (Ø 280+0,21 мм) и обеспечения допуска радиального биения.
Тормозные колодки имеющие большой износ (до толщины 1мм) необходимо заменить на новые. В случае замасливиания колодок необходимо их промыть бензином, просушить их и произвести зачистку шкуркой.
Не допускается замена только одной колодки одного механизма. Также замену нужно проводить сразу на обоих тормозных механизмах, чтобы избежать увода автомобиля в сторону при его торможении.
Также нужно проверить, отверстия крепления щита и тормозных цилиндров, на их разбив. Защитный щит должен быть прямой, без трещин при их наличии щит необходимо заменить.
Цилиндр и его детали нужно хорошо промыть в тормозной жидкости. Рабочею поверхность цилиндра нужно очистить салфеткой она должна быть гладкая, без каких либо рисок или шероховатостей. Если на поршень цилиндра есть задиры, коррозия или поршень имеет односторонний износ, то его следует заменить на новый.
В случае если уплотнительные кольца потеряли эластичность или форму, то их нужно заменить на новые.
Не допускается на защитных чехлах цилиндров даже малейших повреждений, при их наличии нарушается герметичность, что приводит к попаданию влаги и образованию коррозии.
При замене накладок на тормозных колодках, необходимо выполнить следующее:
— перед тем как склеивать накладку с колодкой следует хорошо зачистить и продуть сжатым воздухом внутреннею сторону накладки;
— для склеивания использовать клей ВС-10Т ГОСТ 22345-77 нанести его равномерным слоем и дать при температуре помещения подсохнуть в течении 1 часа;
— в специальном приспособлении сжать колодку с накладкой с усилием в 500-800 кПа (5-8 кгс/см2 ). Не допускать выступания накладки за край колодки. После склеивания необходимо поместить приспособление с колодкой в печь с температурой в 175-185 °С на 40 мин;
— охладить в течении 3 часов приспособление с колодкой до температуры окружающей среды;
— испытать склеенную накладку на сдвиг с колодки в поперечном направлении. Приклеенная накладка должна выдерживать силу сдвига в 23000-26000 Н (2300-2600 кгс).
После склеивания необходимо отшлифовать накладку, чтобы её радиус был меньше радиуса барабана на 0,1-0,3 мм, что облегчает установку и ускорит приработку колодок.
Сборку задних тормозов проводят обратном порядке. При этом нужно учитывать следующее:
– детали цилиндров перед сборкой нужно промыть и продуть сжатым воздухом, после поместить в тормозную жидкость;
– прорезь упорного кольца регулировки должна быть строго в вертикальной плоскости. Упорное кольцо устанавливается на глубину в цилиндре согласно рисунку
– при сборке следить, что бы на уплотнительные кольца не попало масло, керосин, смазка и тд, кольца должны быть чистыми и не должны быть перекручены.
При сборке и установке кронштейн кабеля АБС ориентировать до касания в бобышку цилиндра.
После сборки необходимо долить тормозную жидкость в бачок и прокачать тормоза, согласно инструкции «Прокачка тормозной системы на автомобиле ГАЗель Некст.».
Размеры сопрягаемых деталей тормозного управления.
Когда и зачем это нужно делать?
На автомобиле «Газель» данная система имеет гидравлический привод. Это значит, что давление на рабочие цилиндры оказывает специальная жидкость. Она имеет особые свойства и не кипит при сжатии. Однако главный минус тормозной жидкости – это ее гигроскопичность. При разгерметизации системы внутрь попадает воздух и вода. Из-за этого жидкость теряет свои свойства.

Какие признаки указывают на то, чтобы прокачать систему? Об этом скажет само поведение автомобиля. Если педаль тормоза на «Газели» стала мягкой, увеличился ее ход, машина вяло снижает скорость, все это говорит о проблемах с системой. Но не всегда причиной этого является воздух или вода. Случается, что выходит из строя вакуумный усилитель тормозов на «Газели». В такой ситуации педаль тормоза становится очень твердой. Определить это можно следующим образом. Перед запуском ДВС педаль нужно нажать несколько раз, чтобы ее ход стал минимален (удалить весь вакуум из системы). Далее запускают двигатель и контролируют педаль: она должна немного провалиться. Если этого не произошло, требуется ремонт «Газели», а именно замена вакуумного усилителя. Также отметим еще один момент. Ручной тормоз на «Газели» никак не связан с гидравликой. Он механический, с тросовым приводом, действует отдельно от рабочей системы.
Также прокачку тормозов выполняют после любых ремонтных работ, связанных с данной системой. Это может быть замена главного цилиндра сцепления, каких-либо шлангов и другие мероприятия.
Приступаем к работе
Итак, нам нужно подобраться к тыльной части «спарки» и найти штуцер для вывода воздуха. Его мы пока не откручиваем, а лишь надеваем шланг, который вторым концом будет опускаться в бутылку. Если на штуцере есть грязь, ее нужно предварительно удалить, зачистив участок металлической щеткой. Также доливают жидкость в бачок до максимального уровня.

После этого нам понадобится помощник, который будет по команде нажимать на педаль тормоза и держать ее. Это нужно для того, чтобы в системе образовалось повышенное давление. Иначе жидкость из системы не выйдет. Помощник должен нажать на педаль около пяти раз с интервалом в одну секунду. Дальше педаль нужно держать. А в это время мы откручиваем аккуратно штуцер на пол-оборота. Если шланг прозрачный, мы увидим, как из системы пошла жидкость с пузырьками воздуха.
После того как жидкость перестала идти, штуцер закручивают. Нам нужно вновь создать давление в системе. Помощник нажимает на педаль пять раз и удерживает ее. Дальше откручивается штуцер. Если операция выполняется несколько раз подряд, нужно долить тормозную жидкость. Она не должна опускаться ниже минимального уровня. Когда из контура пошла чистая жидкость, без пузырьков, можно закручивать штуцер и убирать шланг.
После этого переходят к соседнему заднему колесу. Как прокачать тормоза на «Газели»? Действуют по такой же схеме. Сперва зачищают штуцер от грязи, дальше устанавливают шланг. Доливают при необходимости жидкость в бачок. Помощник создает давление в системе. Затем мы откручиваем штуцер и контролируем состояние жидкости. Если шланг черный и проконтролировать наличие пузырьков не получается, это можно заметить на слух. При откручивании будет характерный шум – воздух с жидкостью под давлением выходит наружу. Если при последующем откручивании никаких шумов не произошло, значит, в данном контуре воздух уже удален.
Как прокачать тормоза на «Газели» спереди? Здесь работа выполняется аналогичным образом. Чтобы не лежать под машиной, можно открутить колесо, поддомкратив «Газель» за рессору (домкрат ставят ближе к балке). Последовательность работ такая же. Сперва зачищают штуцер, надевают шланг, доливают жидкость, создают давление. После аккуратно откручивают штуцер и следят, как выходит воздух.

Как функционирует ГТЦ?
Агрегат состоит из следующих деталей:
- металлический корпус с отверстиями для подвода тормозной жидкости, штока педали и присоединения расширительного бачка;
- 2 поршня с уплотнительными резиновыми манжетами;
- 2 возвратных пружины;
- направляющие втулки;
- торцевая пробка с прокладкой.
Сверху к корпусу главного распределителя прикреплен расширительный бачок, куда уходят излишки жидкости через компенсационные отверстия. Внутри элемент разделен на 2 цилиндра с отдельными поршнями, стоящими на одной оси.
Глухой торец корпуса закрыт резьбовой пробкой, с другой стороны расположен фланец крепления к вакуумному усилителю. Шток от педали тормоза прикреплен к первому поршню. К нижним отверстиям присоединены трубки тормозных контуров – отдельно для передних и задних колес.
Принцип работы главного тормозного цилиндра выглядит так:
- При нажатии педали оба поршня одновременно движутся вперед и толкают жидкость в трубки контуров. Под ее давлением срабатывают колесные цилиндры, сжимающие колодки на дисках.
- Часть жидкости, не успевшая пройти в трубки, затекает в расширительную емкость через специальные перепускные отверстия.
- Когда водитель отпускает педаль, пружины выталкивают поршни обратно, возвращая в первоначальное положение. Жидкость из трубок и бачка снова наполняет цилиндры.
- Для компенсации расширения жидкости (например, от нагрева) предусмотрена еще пара отверстий, ведущая в расширительный бачок.




























