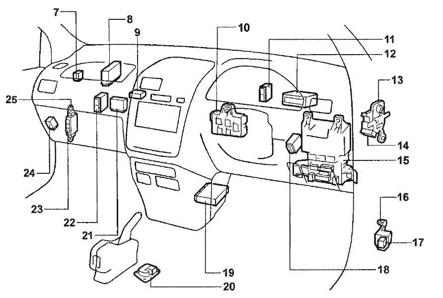
Блоки в салоне
Расположение блоков
Toyota Ipsum
Схема

Описание
- 7 реле топливного насоса
- 8 блок управления двигателем
- 9 блок управления камерой заднего вида
- 10 центральный монтажный блок
- 11 усилитель магнитолы
- 12 ТВ-приемник ( с 08.97)
- 13 блок реле №1,
- 14 реле заднего отопителя
- 15 монтажный блок предохранителей в салоне
- 16 блок реле на перегородке моторного отсека
- 17 реле питания дополнительного оборудования
- 18 реле управления центральным замком
- 19 центральный датчик системы SRS
- 20 датчик замедления (ABS)
- 21 усилитель кондиционера
- 22 блок управления ABS
- 23 блок предохранителей
- 24 блок управления системы парковки
- 25 кронштейн разъема.
Toyota Picnic
Схема

Назначение
- 6 реле управления замками дверей
- 7 блок управления иммобилайзером
- 8 центральный монтажный блок
- 9 блок управления двигателем (модели с МКПП), блок управления двигателем и АКПП (модели с АКПП)
- 10 реле системы освещения в дневное время
- 11 реле топливного насоса
- 12 блок управления ABS
- 13 усилитель кондиционера
- 14 реле разъема подключения дополнительного оборудования
- 15 монтажный блок разъема подключения дополнительного оборудования
- 16 усилитель иммобилайзера
- 17 датчик системы SRS
- 18 монтажный блок предохранителей в салоне
- 19 интегрированное реле
- 20 реле заднего отопителя
- 21 блок реле в перегородке моторного отсека.
Блок предохранителей
Монтажный блок предохранителей находится в нижней части панели приборов за защитной крышкой.

Пример схемы с крышки блока

Схема

Обозначение
| 1 | 7,5A TURN — Индикаторы указателей поворота |
| 2 | 7,5A IDLE UP — Электронный блок управления двигателем |
| 3 | 30A DOOR — Замки дверей |
| 4 | 7,5A STARTER — Электронный блок управления двигателем |
| 5 | 10A TAIL — Габариты подсветка номера |
| 6 | 20A WIPER — Стеклоочистители и стеклоомыватели |
| 7 | 10A ECU-IG — АБС, система парковки, электронный блок управление системы полного привода |
| 8 | 15A METER АС — Кондиционер и отопитель |
| 9 | 15A STOP — Стоп-сигналы, дополнительный стоп-сигнал |
| 10 | 15A LITER, RADIO — Часы, радио, проигрыватель компакт дисков, предохранитель прикуривателя, система управления зеркалами |
| 11 | 7,5A IG — Электронный блок управления двигателем |
| 12 | 30A RR DEF — Обогреватель заднего стекла |
| 13 | 10A RR HEATER — Задний отопитель |
| 14 | 15A FR FOG — Передние противотуманные фары |
| 40А AM1 — Группа питания контактор замков зажигания | |
| 30А POWER — Стеклоподъемники |
Блок в салоне
Он находится в нижней части панели приборов. Для доступа надо убрать защитную крышку.
Предохранители
Схема
Описание
| A/CON | 10А Кондиционер |
| ETACS | 10А ETACS, Система доступа без ключа, Система дверного замка |
| DR LOCK | 15А Электрический дверной замок |
| P/SEAT | 25А Сиденье с электроприводом |
| T/LID OPEN | 15А Выносная крышка багажника |
| STOP LP | 15А Стоп-сигналы |
| H/LP | 10А Передняя фара |
| A/BAG IND | 10А Воздушная подушка |
| T/SIG | 10А Указатели поворота |
| A/CON SW | 10А Кондиционер |
| ACC SOCKET | 15А Розетка |
| S/HTR | 15А Подогрев сиденья |
| A/BAG | 15А Воздушная подушка |
| B/UP | 10А Фонари заднего хода |
| CLUSTER | 10А Кластер приборов, комбинированный фонарь |
| START | 10А Запуск двигателя |
| SP1 | 15А Запасной предохранитель |
| SP2 | 15А Запасной предохранитель |
| P/SEAT (RH) | 25А Сиденье с электроприводом |
| SP4 | 15А Запасной предохранитель |
| D/CLOCK | 10А Цифровые часы |
| TAIL(LH) | 10А Габаритные огни, огни номерного знака, задние фонари — левая сторона |
| AUDIO | 10А Аудио система |
| WIPER | 20А Стеклоочиститель |
| ROOM LP | 10А Освещение салоне, сигнальные лампы передней двери |
| TAIL(RH) | 10А Габаритные огни, огни номерного знака, задние фонари — правая сторона |
| C/LIGHTER | 15А Прикуриватель |
| EPS | 10А Электро снабжение |
Реле
С обратной стороны блока крепятся некоторые реле.
Схема
Расшифровка
- А — разъём питания
- В — разъём электронного блока управления системой ETACS
- С — реле №1 блокировки замков дверей
- D — реле №2 блокировки замков дверей
- Е — резистор обмотки возбуждения
- F — реле задних габаритов
- G — реле электродвигателя стеклоподъемников
- Н — реле обогревателя заднего стекла и обогревателей боковых зеркал.
Реле и предохранители в Акценте – схема монтажных блоков реле и предохранителей в Hyundai Accent Tagaz
Записаться КонтактыБлок реле и предохранителей под капотом:1 – предохранитель 100А цепи генератора; 2 – предохранитель 50А комплексный (цепей электропривода блокировки двери, аварийной сигнализации, сигналов торможения, обогрева заднего стекла, звукового сигнала, лампы освещения салона, ЭБУ); 3 – предохранитель 30А цепи ламп головного и габаритного света; 4 – предохранитель 20А цепи блока управления двигателем; 5 – предохранитель 30А цепи пуска двигателя и катушек зажигания; 6 – предохранитель 20А цепи вентилятора радиатора системы охлаждения двигателя; 7 – разъем электропроводки; 8 – реле вентилятора отопителя; 9 – реле звукового сигнала; 10 – предохранитель 10А цепи лампы освещения салона; 11 – предохранитель 10А цепи головного устройства системы звуковоспроизведения; 12 – реле 2 вентилятора теплообменника конденсатора системы кондиционирования; 13 – реле муфты компрессора кондиционера; 14 -гнездо реле противотуманных фар; 15 – резервное гнездо предохранителя; 16 – предохранитель 15А регулятора холостого хода и датчика положения распределителного вала; 17 – предохранитель 10А цепи блока управления двигателем; 18 – реле вентилятора радиатора системы охлаждения двигателя; 19 – предохранитель 10А цепи включения кондиционера; 20 – реле 1 вентилятора теплообменника конденсатора системы кондиционирования; 21 – предохранитель 10А цепи блока управления двигателем; 22 – предохранитель 10А цепи муфты компрессора кондиционера; 23 -предохранитель 10А цепи звукового сигнала; 24 – предохранитель 15А цепи противотуманных фар; 25 – предохранитель 10А цепи правой лампы головного света; 26 – предохранитель 10А цепи левой лампы головного света; 27 – предохранитель 10А цепи ламп габаритного света правого борта автомобиля; 28 – предохранитель 10А цепи ламп габаритного света левого борта автомобиля; 29 – реле ламп габаритного света; 30 – резистор предварительного возбуждения генератора; 31 – реле стартера; 32 – предохранитель 20А цепи вентилятора теплообменника конденсатора системы кондиционирования; 33 – предохранитель 30А цепи электростеклоподъемников; 34 – предохранитель 30А цепи блока управления АБС; 35 – гнездо реле постоянно включенного ближнего света; 36 – реле топливного насоса; 37 – предохранитель 30А цепи блока управления АБС; 38,39 – гнездо диода; 40 – предохранитель 30А цепи вентилятора отопителя. Предохранители в салоне (у левой ноги внизу):1 – предохранитель 10А цепи указателей поворота; 2 – предохранитель 10А цепей АБС, контрольных ламп в комбинации приборов; 3 – предохранитель 10А цепи комбинации приборов; 4 – предохранитель 15А цепи подушки безопасности; 5 – предохранитель 10А цепей блока управления двигателем, ламп света заднего хода, блока управления автоматической коробкой передач; 6 – предохранитель 10А цепи электрического привода блокировки двери (ЦЗ); 7 – предохранитель 10А цепи аварийной сигнализации; 8 – предохранитель 10А цепи сигналов торможения; 9 – предохранитель 20А цепи обогрева заднего стекла; 10 – предохранитель 10А цепей обмоток реле блок-фар, электростеклоподъемников, омывателя блок-фар (опция), вентилятора теплообменника конденсатора системы кондиционирования, вентилятора радиатора системы охлаждения двигателя, протизотуманных фар, противотуманного света в задних фонарях; 11 – предохранитель 20А цепи очистителя и омывателя ветрового стекла; 12 – предохранитель 10А цепи обогрева сиденья (опция); 13 – предохранитель 10А цепи АБС; 14 – резервное гнездо предохранителя; 15 – предохранитель 15А цепи прикуривателя; 16 – предохранитель 10А цепи наружных зеркал с электроприводом; 17 – предохранитель 10А цепи кондиционера; 18 – резервное гнездо предохранителя. Блок реле в салоне (за маленьким бардачком, вид снизу):1 – реле электронного распределения тормозных усилий (EBD); 2 – реле противотуманного света в задних фонарях; 3 – главное реле системы управления двигателем (для наглядности крепление отсоединено); 4 – реле ламп головного света; 5 – реле очистителя и омывателя ветрового стекла; 6 – реле АБС; 7 – реле электростеклоподъемников; 8 – реле обогрева заднего стекла; 9 – реле звукового сигнализатора; 10 – реле указателей поворота и аварийной сигнализации. Еще одно проблемное место с перемычками о котором многие и не догадываются. Блочок перемычек прячется между крылом и блоком предохранителей. Чтоб до него добраться нужно выкрутить один болт на 10 (слева) и ослабить другой на 10 (справа) – фиолетовые стрелки.
На перемычки попадает влага и они окисляются. Указано красной стрелкой указан. Мы уже рассказывали о таком ремонте у нас на сайте.
|
Возврат к списку
Проблемы при оплате банковскими картами
Иногда при оплате банковскими картами Visa / MasterCard могут возникать трудности. Самые распространенные из них:
- На карте стоит ограничение на оплату покупок в интернет
- Пластиковая карта не предназначена для совершения платежей в интернет.
- Пластиковая карта не активирована для совершения платежей в интернет.
- Недостаточно средств на пластиковой карте.
Для того что бы решить эти проблемы необходимо позвонить или написать в техническую поддержку банка в котором Вы обслуживаетесь. Специалисты банка помогут их решить и совершить оплату.
Вот, в принципе, и все. Весь процесс оплаты книги в формате PDF по ремонту автомобиля на нашем сайте занимает 1-2 минуты.
Если у Вас остались какие-либо вопросы, вы можете их задать, воспользовавшись формой обратной связи, или написать нам письмо на info@krutilvertel.com.
Блоки под капотом
Основной блок
Расположен в левой части моторного отсека, рядом с аккумулятором.
Вариант 1
Схема Варианта 2
Назначение
| ВАТТ 2 | Распределительная коробка приборной панели (реле электропривода стекло подъемников, плавкие предохранители (SAFETY P/W — 15 A, HAZARD — 15 А)) |
| ВАТТ 1 | Распределительная коробка приборной панели (реле задних фонарей, плавкие предохранители (S/ROOF — 20 A, FOLDING — 10 A, DR LOCK — 20 A, STOP LP — 15 А, В/A HORN — 15 A, RR FOG LP — 10 A, FRT FOG LP — 10 А, разъем питания (ROOM — 10 A, AUDIO — 20 A)) |
| C/FAN | Реле высоких оборотов охлаждающего вентилятора, реле низких оборотов охлаждающего вентилятора |
| MAIN | Генератор, плавкие предохранители (ABS 1 — 40 A. ABS 2 — 40 A, RR HTD — 40 A, BLOWER — 40 A, MDPS — 80 A, A/CON 1 — 10 А) |
| ABS2 | Многоцелевой контрольный разъем, блок управления анти блокировочной тормозной системой (ABS), блок управления электронной системой стабилизации курсовой устойчивости (ESP) |
| ABS 1 | Многоцелевой контрольный разъем, блок управления анти блокировочной тормозной системой (ABS), блок управления электронной системой стабилизации курсовой устойчивости (ESP) |
| RR HTD | Реле заднего обогрева |
| BLOWER | Реле вентилятора |
| MDPS | Блок управления электронной системой стабилизации курсовой устойчивости (ESP) |
| IGN 2 | Зажигания |
| ECU A | Блок управления двигателем (ЕСМ) (при наличии механической коробки передач), блок управления трансмиссией (РСМ) (при наличии автоматической коробки передач), реле управления двигателем (главное реле) |
| F/PUMP | Реле топливного насоса |
| IGN 1 | Замок зажигания |
| HORN | Реле звукового сигнала |
| SNSR 1 | Датчик положения распределительного вала, электромагнитный клапан управления продувкой накопителя топливных паров, кислородный датчик (вверх, вниз по потоку), блок управления иммобилайзером, реле низких оборотов охлаждающего вентилятора, реле высоких оборотов охлаждающего вентилятора |
| ECU В | Блок управления двигателем (ЕСМ) (при наличии механической коробки передач), блок управления трансмиссией (РСМ) (при наличии автоматической коробки передач) |
| DRL | Заземление (блока управления электронными системами кузова (ВСМ)) |
| ECU 1 | Блок управления двигателем (ЕСМ) (при наличии механической коробки передач), блок управления трансмиссией (РСМ) (при наличии автоматической коробки передач) |
| INJ | Форсунки 1-4, привод управления оборотами холостого хода, реле кондиционера, клапан управления расходом масла (ГАММА) |
| A/CON2 | Блок управления кондиционером |
| A/CON 1 | Реле кондиционера |
Дополнительный блок
Устанавливается с правой стороны подкапотного пространства на модели i20 с дизельными двигателями.
Тут могут находится элементы отвечающие за работу двигателя, такие как:
- GLOW — Реле свечей предпускового подогрева, реле подогревателя воздуха
- PTC — Реле дополнительного нагревателя
На этом всё. А если Вам есть чем дополнить материал, пишите в комментарии.
Блоки под капотом
Общее расположение
Основной блок
Он расположен в левой части моторного отсека.
Пример схемы
Обозначение
| MDPS | 80A MDPS (Мотор рулевого управления с усилителем) |
| ALT | G4FC (125 А): генератор, аккумулятор, все предохранители подключены к предохранителю генератора D4FC / D4FB (150 А): генератор, аккумулятор, все предохранители подключены к предохранителю генератора |
| ECU2 | G4FC (10A): ECU (M / T), PCU (A / T) D4FC (15A): CAM SNSR, Glow RLY, WGT, регулирующий клапан EGR, воздушный поток SNSR, IMMOD4FB (15A): CAM SNSR, VGT Vacuum, IMMO |
| HEAD LAMP HIGH BEAM | Реле электромагнитного клапана включения дальнего света (двухфункционального типа) |
| ABS2 | Блок управления ABS / ESC |
| ECU 4 | G4FC (25A): ECU (M / T), PCU (A / T) D4FC (15A): Впускной клапан счетчика, D4FB (15A): реле свечи накаливания, блок счетчика топлива |
| TCU 1 | D4FB: TCU (АКПП) |
| BAT+5 | Предохранитель блока предохранителей панели приборов: FS01 |
| ABS 1 | Блок управления ABS / ESC, диагностика моторного отсека |
| BAT+4 | Предохранитель блока предохранителей панели приборов: FS06, IPS-1, IPS-2, IPS-3 |
| IG1 | Без кнопки запуска: зажигание SW С запуском кнопки: блок реле PDM |
| BAT+1 | Предохранитель блока предохранителей панели приборов: FS14, FS05, FS13, FS17, FS10, FS02, FS09, IOD реле (автоматическое отключение тока утечки) |
| GLOW | D4FC / D4FB: реле накаливания, свеча накаливания |
| FUEL HEATER | D4FC / D4FB: Подогреватель топлива |
| ECU 1 | (Управление двигателем) Главное реле |
| FRONT WIPER | Электродвигатель стеклоочистителя (передний) |
| HORN | Звуковой сигнал (двойной), звуковой сигнал охранной сигнализации |
| FUEL PUMP | G4FC: реле топливного насоса, двигатель топливного насоса |
| C/FAN | G4FC (40A), двигатель вентилятора радиатора D4FC / D4FB (50A) двигатель вентилятора радиатора |
| BLOWER | Двигатель вентилятора |
| IG2 | Без кнопки запуска: пусковое реле, пусковой соленоид, зажигание SW С запуском кнопки: пусковое реле, пусковой соленоид, блок реле PDM |
| BAT+3 | Предохранитель блока предохранителей панели приборов: FS04, IPS-4, IPS-5 |
| BAT+2 | Предохранитель блока предохранителей на приборной панели: FS03, P / оконное реле, P / выходное реле |
| INJECTOR | G4FC: Инжектор (№1, №2, №3, №4) |
| BACK UP LAMP | Переключатель заднего хода (только MT), задний комбинированный фонарь, левый / правый |
| IGN COIL | G4FC: конденсатор, катушка зажигания, внутр. |
| SENSOR 1 | G4FC: соленоид регулируемой системы впуска, регулируемый кулачок на выходе (IN, EX), электромагнитный клапан управления продувкой, датчик кислорода (UP, DN), IMMO D4FB: лямбда-зонд, ПО остановки, исполнительный механизм системы рециркуляции ОГ, D4FC: ПО остановки |
| ECU 3 | D4FC / D4FB: ЭБУ G4FC: ЭБУ (M / T), PCU (A / T) |
| GLOW | D4FC / D4FB: Свеча накаливания |
С обратной стороны блока могут крепится некоторые дополнительные реле.
Схема

Дополнительный блок
В зависимости от уровня оснащения, на некоторые модели Крета устанавливаться дополнительный блок.

Актуальную схему смотрите на обратной стороне крышки. Тут находятся предохранители и реле отвечающие за дополнительный подогрев и антиобледенитель стекла.






























